Гарантия
24 месяца
Возврат
14 дней для возврата
Доставка
Бесплатная доставка
|
При заказе от 2000 грн оплачиваем доставку. |
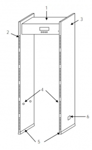
Використання арочного металодетектора ZKTeco ZK-D1065S:
Прохідний металодетектор ZK-D1065S має 6 зонах виявлення. Кожна зона виявлення має 100 регульованих рівнів чутливості. Налаштувавши їх, ви можете виключити детекцію металевих предметів малих розмірів, наприклад ключів, монет, ременів, прикрас тощо. Металодетектор має світлодіодний дисплей, на якому зображається кількість тривог, з виявлення металевих предметів і кількість успішних проходів. У разі виявлення металевого предмета відбувається синхронна світлозвукова індикація.
Мы выполняем монтаж всего оборудования представленного у нас на сайте, оформите заявку и опытный инженер свяжется с вами в ближайшее время и ответит на все вопросы. Подробнее о стоимости услуг
| Телефон * | |